Produkte

Hauskontrollschacht

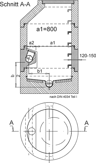
Der MULTRO®-Hauskontrollschacht ist der kleinste MULTRO®-Kombischacht.

Aufgrund der Reduzierung auf die "einfachsteForm", nämlich den geraden Durchgang, können die wirtschaftlichen Vorteile bei geringstem Platzbedarf voll entfaltet werden.

Der MULTRO®-Hauskontrollschacht spart Platz und Baukosten und ist die ideale Lösung an der Grundstücksgrenze zum Übergang in die öffentliche Kanalisation

 

 

 

 

 

HomeSitemapImpressum